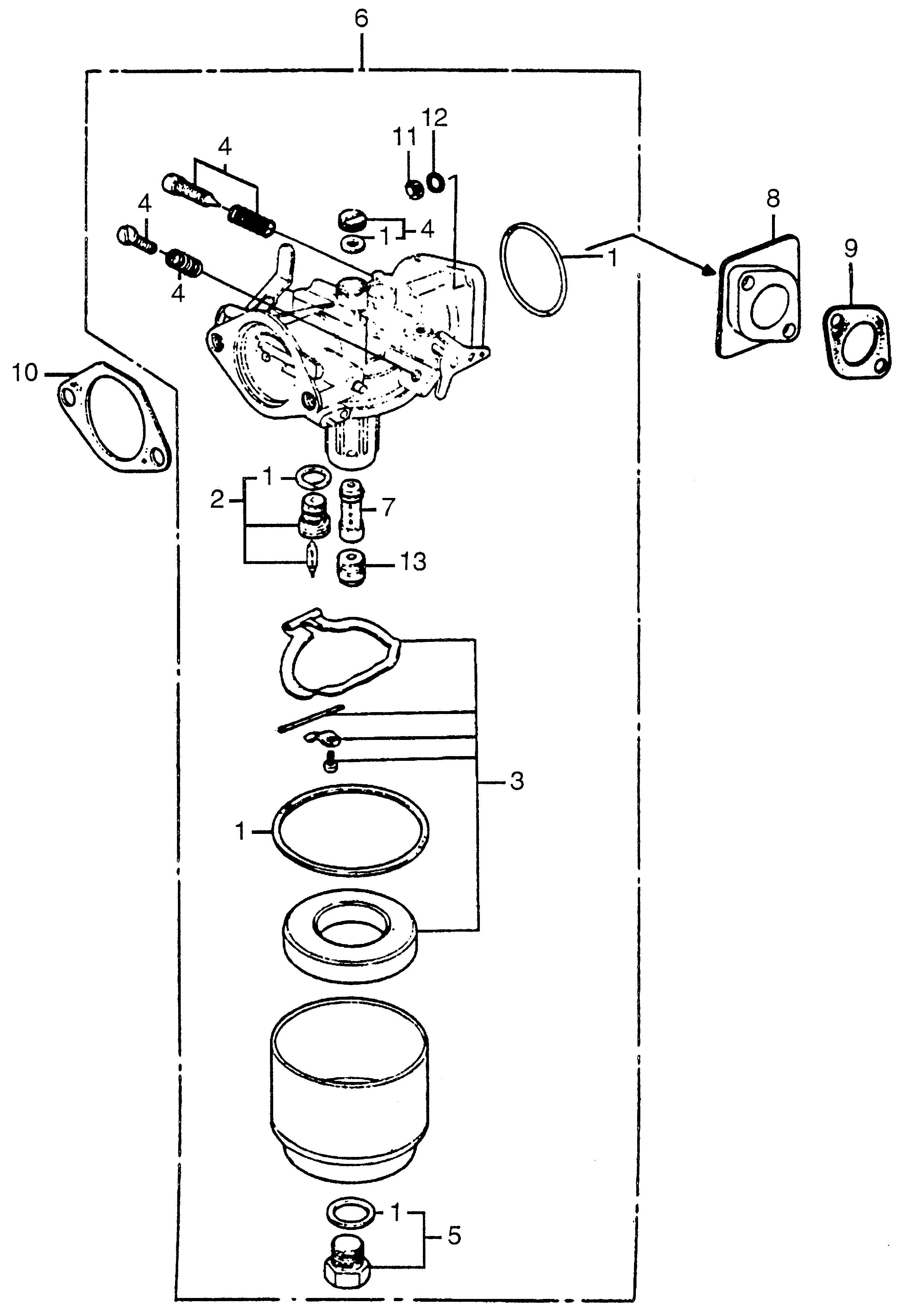
Generators EG EG1500 EG1500K3 A G42-200000-2193508 EG1500 CARBURETOR - Heyser Cycle

Ref No
Part Number
Description
Serial Range
Qty
Price

Ref No
1
Part Number
16010-848-650
Description
GASKET SET (NOT AVAILABLE)
Serial Range
1000001 - 9999999

Ref No
2
Part Number
16011-051-004
Description
VALVE SET, FLOAT
Serial Range
1000001 - 2108368
Qty
Price
$21.22

Ref No
2
Part Number
16011-866-004
Description
VALVE SET, FLOAT
Serial Range
2108369 - 9999999

Ref No
3
Part Number
16013-124-014
Description
FLOAT SET (NOT AVAILABLE)
Serial Range
2108369 - 9999999

Ref No
4
Part Number
16016-848-004
Description
SCREW SET A (NOT AVAILABLE)
Serial Range
1000001 - 9999999

Ref No
5
Part Number
16028-848-004
Description
SCREW SET (NOT AVAILABLE)
Serial Range
1000001 - 9999999

Ref No
6
Part Number
16100-865-701
Description
CARBURETOR (N/A: SEE COMPONENTS)
Serial Range
1000001 - 9999999

Ref No
7
Part Number
16166-865-004
Description
NOZZLE, MAIN (NOT AVAILABLE)
Serial Range
1000001 - 9999999

Ref No
8
Part Number
16211-865-781
Description
INSULATOR, CARBURETOR (NOT AVAILABLE)
Serial Range
1000001 - 9999999

Ref No
9
Part Number
16229-822-010
Description
GASKET, CARBURETOR INSULATOR (NOT AVAILABLE)
Serial Range
1000001 - 9999999

Ref No
10
Part Number
16269-822-000
Description
GASKET, AIR CLEANER (NOT AVAILABLE)
Serial Range
1000001 - 9999999

Ref No
11
Part Number
94001-06000-0S
Description
NUT, HEX. (6MM)
Serial Range
1000001 - 9999999

Ref No
11
Part Number
94001-06200-0S
Description
NUT, HEX. (6MM)
Serial Range
1000001 - 9999999
Qty
Price
$1.60

Ref No
12
Part Number
94111-06000
Description
WASHER, SPRING (6MM)
Serial Range
1000001 - 9999999
Qty
Price
$1.14

Ref No
13
Part Number
99114-077-0780
Description
JET, MAIN (#78) (NOT AVAILABLE)
Serial Range
1000001 - 9999999

Ref No
13
Part Number
99114-077-0800
Description
JET, MAIN (#80) (NOT AVAILABLE)
Serial Range
1000001 - 9999999