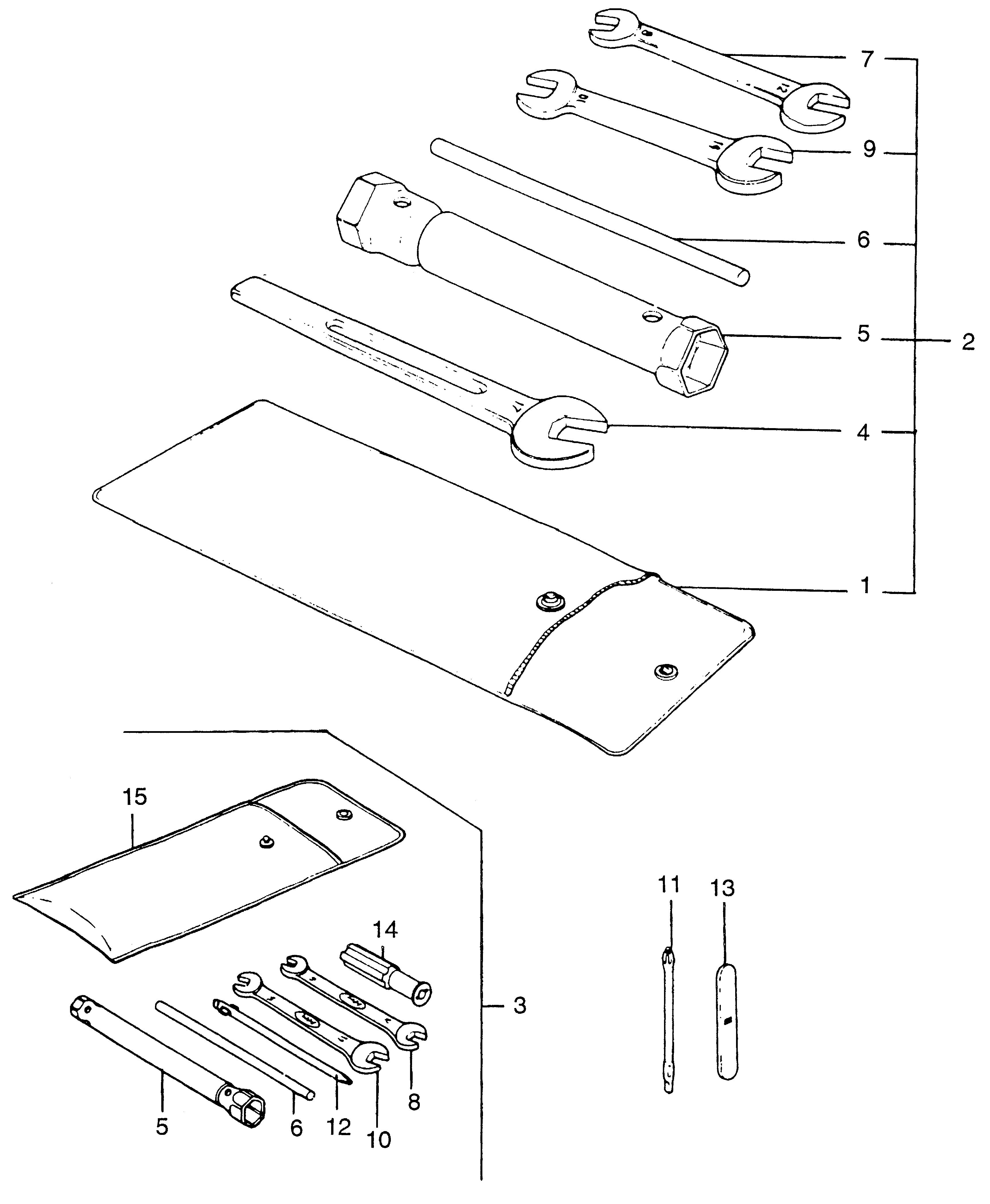
Generators E E2500 E2500K2 A E2500-1100006-2000092 TOOL SET - Heyser Cycle

Ref No
Part Number
Description
Serial Range
Qty
Price

Ref No
1
Part Number
89101-ME5-670
Description
BAG, TOOL
Serial Range
1000001 - 9999999

Ref No
1
Part Number
89101-ME5-670
Description
BAG, TOOL
Serial Range
1000001 - 9999999

Ref No
2
Part Number
89000-839-000
Description
TOOL ASSY.
Serial Range
1000001 - 9999999
Qty
Price
$16.90

Ref No
4
Part Number
89206-805-000
Description
WRENCH, OPEN END (7MM)
Serial Range
1000001 - 9999999
Qty
Price
$3.66

Ref No
5
Part Number
89216-829-010
Description
WRENCH, SPARK PLUG (NOT AVAILABLE)
Serial Range
1000001 - 9999999

Ref No
6
Part Number
89219-805-000
Description
HANDLE, BOX WRENCH
Serial Range
1000001 - 9999999
Qty
Price
$3.62

Ref No
7
Part Number
99001-08120
Description
SPANNER (8X12)
Serial Range
1000001 - 9999999
Qty
Price
$3.62

Ref No
9
Part Number
99001-10140
Description
SPANNER (10X14)
Serial Range
1000001 - 9999999
Qty
Price
$4.06